我们非常重视您的个人隐私,当您访问我们的网站时,请同意使用的所有cookie。有关个人数据处理的更多信息可访问《隐私政策》
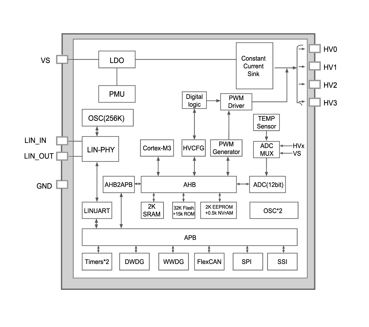
NSUC1500 是一款基于 ARM Cortex-M3 的 MCU,集成了 4 路 LED 驱动器,用于控制 RGB(或 RGBW)环境光。它提供了一款 32 位微控制器,配备 32KB 闪存、2KB EEPROM、15KB ROM、LDO 以及支持 LIN 自动寻址的 LIN 收发器。该芯片支持 UDS 升级软件,使用 ROM 代码,因此无需占用闪存空间。芯片还配备 4 路 16 位 EPWM,每个通道的时钟为 32MHz,且每个 LED 驱动通道最大可提供 64mA 电流。 为实现温度补偿和 PN 结电压管理,NSUC1500 集成了温度传感器和电压感应电路,能够通过 ADC 进行采样。此外,通过 ADC 获取 RGB 的差分前向电压,可以有效补偿 LED 温度的全范围变化和长期漂移。
产品特性
• ARM Cortex-M3 32 位内核
• 32KB 闪存(ECC),2KB EEPROM(ECC)
• 2KB SRAM,512B 数据 RAM,512B NVR(ECC)
• 32MHz 高精度振荡器
• 35KHz 低功耗低速时钟
• 宽频带 PLL(最高 32MHz)
• 6V 至 28V 宽电源电压范围
• 1 个 12 位高精度 ADC
• 4 路高精度 LED 驱动器,最大电流 64mA
• LIN PHY 和 LIN UART 控制器支持 LIN 2.x 和 SAE J2602
• 4 路增强型 PWM(16 位)输出,用于 LED
• 2 个 16 位通用定时器
• 1 个数字看门狗和 1 个窗口看门狗
• 1 个 SPI(主机)和 1 个 SSI(从机),支持 4 线或 3 线通信
• 频率扩展谱(内部时钟)
• 完整的保护和诊断功能:
LIN 接口故障
RGB 故障
电压供应故障
热关断
• 支持 ROM 中的 UDS 启动加载程序
• 封装:QFN-20 / SOP8 / HSOP8
• 符合 AEC-Q100 Grade 1 可靠性标准
• 符合 ROHS 和 Reach 标准
应用场景
• 汽车内饰灯模块
• 汽车充电门
功能框图


如您需要咨询产品更多信息,请点击“申博”,我们将尽快回复您!