申博_申博手机版-平台官网申博

Product

Product

Isolated Current Sampling Amplifier With High Reliability

NSI1300 is an galvanic isolated sampling operational amplifier whose output and output are based on NOVOSENSE capacitance isolation technology. This series of products are designed with linear differential input signal of  ± 50mV (full scale ± 64mV) or ± 250mV (full scale ± 320mV). The fail-safe function includes input common mode overvoltage detection and VDD1 missing detection, simplifying system design and diagnosis. The NSI1300 has a fixed gain of 8.2/41 and provides a differential analog input. Low misalignment and gain drift ensure accuracy over the entire temperature range. High common mode transient immunity (CMTI) ensures that the component can provide accurate and reliable measurement results even when working with high power switches, such as in motor control applications.

Product Features

• Up to 5000Vrms insulation voltage                                                                                                          

• Linear supply voltage range of ± 50mV or ± 250mV

• Fixed gain: 8.2 or 41

• Low bias error and temperature drift:

     • NSI1300D25:  ±0.2mV(Max), -2~4μV/°C(Max)

     • NSI1300D05: ±0.1mV(Max), -0.8~1μV/°C(Max)

• Low gain error and temperature drift:

     • ±0.3%(Max), ±50ppm /°C(Max)

• Low nonlinearity and temperature drift:

     • ±0.03%(Max), ±1ppm /°C(Typ)

• SNR:86dB(Typ, BW = 10kHz), 72dB(Typ, BW = 100kHz)     

• Bandwidth: 310kHz(Typ)

• High CMTI:150kV/us(Typ)

• System-level diagnostic functions:

     • VDD1 monitoring

     • Input common mode overvoltage detection

• Operation temperature: -40°C to 125°C

• RoHS compliant package:

     • SOP8(300mil)


Safety Certificate

• UL1577 qualified 5kVrms for 1 min.

• CQC qualified: Conform to GB4943.1 -2011

• CSA qualified: Components conform to 5A

• VDE qualified: DIN V VDE V 0884-11:2017-01


Application

• Shunt current monitoring

• AC motor control

• Power and PV inverters

• UPS

• Onboard charger


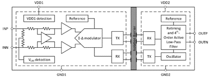
Functional Block Diagram

1300-框图.png

For more product information, please contact us.

申博