申博_申博手机版-平台官网申博

Product

Product

NSOPA810x: Low Voltage, General Purpose, Low-power operational Amplifiers

The NSOPA810x series is a low voltage (1.8 V to 5.5 V, general purpose, low-power operational amplifiers (op amps) with rail-to-rail input and output swing capabililties. These op amps provide a cost-effective solution for low-voltage operation and high capacilive-load drive are reguired. The capacitive-oad drive of the NSOPA810x series is 1nF, and the resistive open-loop output impedance makes stabilization easier with much higher capacitive loads. The robust design of the NSOPA810X series simplifies cicuit desian. The op amps feature unity-gain stabilty, an integrated RFl and EMl reiection fiter, and no-phase reversal in overdrive conditions. Micro-size packages, such as Sc70-5, along with industry-standard packages such as SOT23-5L, SOP, MSOP, and TSSOP packages.

Product Features

• Supply voltage range: 1.8V to 5.5V

• Rail-to-rail input and output

• Low input offset voltage: ±0.3 mV (typical)

• Gain-bandwidth product: 10 MHz

• Unity-gain stable

• AEC-Q100 qualified for automotive applications

• Low broadband noise: 12 nV/√ Hz (typical)

• Low input bias current: 5 pA (typical)

• Low quiescent current: 680 μACh (typical)

• Internal RFl and EMl filter

• Extended temperature range: -40°C to 125°C

Application

• Sensor signal conditioning

• Power Delivery: UPS/Power module/Solar

• Inverter/Servo/PLC/Motor driver

• Low-side current sensing

• ASlC Input or Output Amplifiers

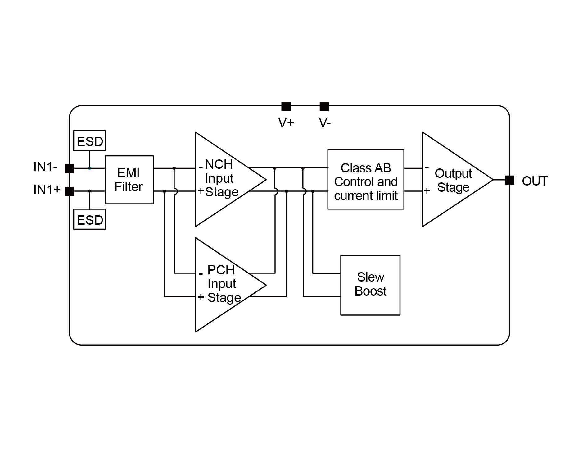
Functional Block Diagram

NSOPA810_NSOPA805.jpg

For more product information, please contact us.

申博