我们非常重视您的个人隐私,当您访问我们的网站时,请同意使用的所有cookie。有关个人数据处理的更多信息可访问《隐私政策》
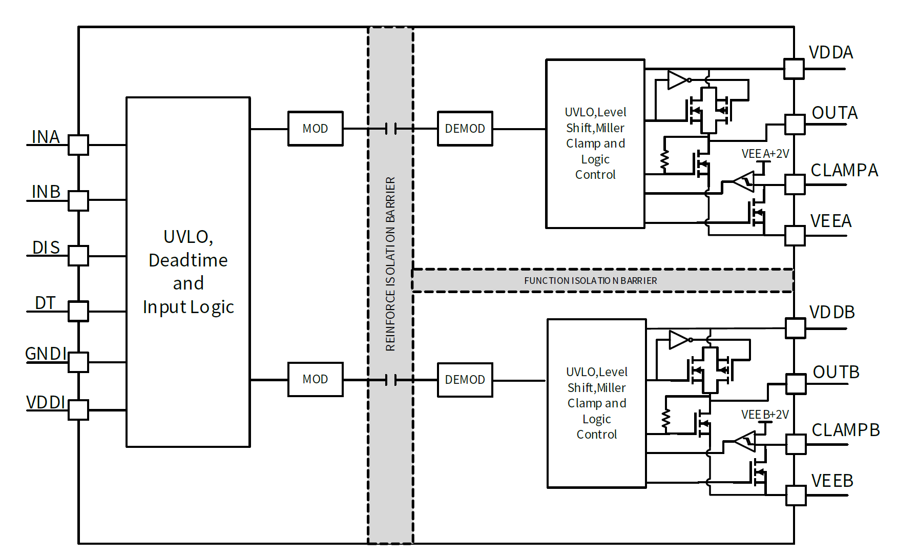
产品特性
- 隔离式双通道驱动器
- 输入侧电源电压:3V~5.5V
- 驱动器侧电源电压:最大耐压35V,具有UVLO功能
- 峰值5A/5A拉灌电流能力
- 支持Miller Clamp功能,电流高达5A
- 高CMTI:typical 150kV/μs
- 典型传播延迟:80ns
- 最大延迟匹配:5ns
- 最大脉冲宽度失真:25ns
- 可编程死区时间
- 接受最小输入脉冲宽度:30ns
- 工作温度: -40℃~125℃
- AEC-Q100认证
安全认证
- UL1577认证:
SOW18:1分钟 5kVrms
- CQC认证:符合GB4943.1-2011
- CSA认证:组件符合5A
- VDE认证:DIN V VDE V 0884-11:2017-1
应用场景
- 服务器,电信和工业中的隔离式DC-DC和AC-DC电源
- DC-AC太阳能逆变器
- 电机驱动和EV充电
- UPS和电池充电器
功能框图


如您需要咨询产品更多信息,请点击“申博”,我们将尽快回复您!